Наследие раннего средневековья в Англии

Глава «Романская архитектура. Архитектура Англии. Наследие раннего средневековья», «Всеобщая история архитектуры. Том 4. Архитектура Западной Европы. Средние века». Автор: Саркисиан Г.А.; под редакцией Губера А.А. (ответственный редактор), Колли Н.Д., Максимова П.Н., Маца И.Л., Нельговского Ю.А., Саркисиана Г.А. Москва, Стройиздат, 1966


Восток и юг Англии бедны камнем. Здесь, как и в центре страны, непроходимые дубовые леса служили в средние века основным строительным материалом. Только на западе было сравнительно много камня, но здесь долго господствовали кельтские влияния, которые, однако, не внесли заметного вклада в развитие строительного искусства.

Несмотря на трёхсотлетнее пребывание римлян, Англия бедна памятниками римского строительства. Оборонительные стены Адриана, остатки терм в Бате и в Лондоне, развалины нескольких укреплений — вот всё, что дошло до наших дней от римлян. То, что смогли застать вторгшиеся германские племена в городах, покинутых легионами, быстро разрушалось: свободолюбивые варвары-земледельцы не любили городов. В сельских же местностях и римляне вынуждены были строить в дереве свои жилища и виллы, часто даже укрепления. Все эти сооружения, естественно, рано погибали. Но римляне строили много и в кирпиче и ввели технику кладки на растворе. После ухода римлян (410 г.) искусство обжига кирпича было забыто и на протяжении целого тысячелетия «деревянная» Англия обходилась без собственного кирпича, если не удавалось добыть его среди римских развалин. У англосаксов строить значило плотничать, и слово «плотник» означало «строитель». Земледельческая языческая страна не знала каменного храмостроительства. В англо-саксонский период строительство велось в дереве, что и отразилось на архитектуре средневековой Англии.

Британские острова в XII—XIII вв.
Британские острова в XII—XIII вв.

Помимо стойких конструктивных и декоративных традиций деревянного зодчества, нормандцы застали в Англии и своеобразные композиционные особенности, сложившиеся на протяжении пяти предшествующих столетий и сказавшиеся на дальнейшем развитии архитектуры.

В начале XX в. думали, что саксонских церквей в Англии вообще не сохранилось, но в 1925 г. исследователь Б. Браун перечислил и описал 238 церквей этой эпохи.

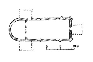
В конце VI в. прибывшей из Рима миссией Августина было начато обращение англосаксов в христианство [В 1892 г. в Сильчестере был раскопан фундамент церкви IV в. — небольшой трёхнефной базилики (10 × 13 м) с хором, полуциркульной апсидой и зародышем трансепта. По римской традиции IV в., постройка имела западную ориентацию. По-видимому, это древнейшие остатки христианского храма к северу от Альп.]. Новый культ требовал храмов и притом каменных: склонные к отступничеству новообращенные всегда были готовы жечь церкви. Но в стране не было каменщиков (деятельность миссии охватывала бедный камнем юго-восток острова). Поэтому первые церкви возводились италийскими каменщиками, причем использовался либо римский кирпич (для выкладки углов и арок), либо дикий камень и валуны (для стен). В одном случае (церковь св. Петра в Брадуэлле, 653 г.) здание хорошо сохранилось, утрачена лишь апсида (рис. 1). Все эти церкви имели подобие боковых портиков (зародыши будущих трансептов), вероятно восточного происхождения (рис. 2). В римском строительстве рассматриваемого периода такие пристройки, как правило, уже не встречаются. Другую восточную особенность этой группы составляет форма апсид, нередко многогранных снаружи и полуциркульных изнутри.

Брадуэлл. Церковь св. Петра, 653 г. Брадуэлл. Церковь св. Петра, 653 г.
Рекульвер. План церкви, VII в.
   
1. Брадуэлл. Церковь св. Петра, 653 г. 2. Рекульвер. План церкви, VII в.
Бриксуорт. Церковь, 670 г.
3. Бриксуорт. Церковь, 670 г.

Важный памятник, напоминающий юго-восточную группу, церковь в Бриксуорте (670 г.) — едва ли не самый величественный памятник VII в. из сохранившихся в Западной Европе за пределами Италии (рис. 3). Первоначально это была трёхнефная базилика, но ныне боковые нефы устранены и аркады замурованы. Башня над нартексом надстроена позже. Здание выложено из мелкого камня, арки — из римского кирпича. Видимо, это одно из первых каменных сооружений, воздвигнутых местными силами, поскольку качество кладки много хуже, чем в одновременных постройках Италии.

Раннее проникновение в Англию восточных влияний имеет двоякое объяснение. В середине VII в. в результате экспансии ислама толпы беженцев покидали Северную Африку и Сирию в поисках приюта. Страницы хроники Беды Достопочтенного (около 672—735 гг.) пестрят известиями об иностранцах, прибывших в только что обращенную Англию. После 669 г., когда главой английской церкви стал Теодор из Тарса, Англия стала излюбленным убежищем беженцев с Востока, особенно монахов. Именно в это время на северо-востоке острова возник новый тип памятников — резные кресты. Они значительно древнее, чем резные кресты Ирландии, относящиеся к IX—X вв. По мнению английского историка Клэпхема, если бы удалось доказать, что где-либо на Востоке в рассматриваемое время существовали аналогичные памятники, то тайна их появления в Нортумбрии была бы разгадана.

Другим источником восточных влияний была Ирландия. Еще до прибытия Августина на западе страны успешно действовали ирландские проповедники. Здесь очень рано возникли монастыри. На северо-востоке Англии, на «священном острове монахов» (Линдисфарн) сосредоточились последователи организатора монастырей и проповедника — ирландца св. Колумбана (около 540—615 гг.). Но и культура Ирландии в это время развивалась под восточным влиянием. Монастырское строительство следовало здесь восточной схеме: монахи жили в кельях, церкви были небольшие, недоступные мирянам. В пределах одного монастыря нередко оказывалось несколько небольших церквей: возраставшие нужды братии удовлетворялись очередной добавочной церковкой, которая строилась аналогично предшествующим. Неудивительно, что при таких условиях строительная мысль прогрессировала медленно. 

После XII в. уже не возникало свежих импульсов восточных влияний, и местная архитектура поглотила полученное наследие, переработав его в свете иных примеров и собственного опыта.

Особое место занимают проникшие к англосаксам архитектурные приёмы меровингской Галлии. Наряду с южной группой церквей в VII в. на севере возникли церкви, значительно от них отличающиеся. Церковь в Брэдфорде-на-Эйвоне (675 г.) построена выходцем из Галлии Бенедиктом Бископом (т. е. епископом). Здесь применена кладка из тесаного камня (рис. 4). Двухъярусный нартекс перекрыт цилиндрическим сводом, видимо, первым в христианской Англии. В нортумбрийских постройках VII в. необычна длина нефа, вдвое превышающая ширину, причем хор значительно уже нефа.

Строительство VIII и начала IX вв. почти не оставило памятников. Однако именно в это время синтезировались в местном строительном опыте италийские, восточные и галльские влияния, вырабатывались принципы пространственных построений с применением деревянных конструкций, приемы деревянного зодчества переносились на камень.

Слагавшаяся местная архитектурная школа в середине IX в. снова подверглась влияниям извне. Благодаря тесным связям Англии с империей Каролингов английская архитектура с конца VIII до середины XI в., несмотря на ряд самобытных особенностей, превращается в ответвление архитектуры Каролингов.

Вторжение нормандцев насильственно остановило это развитие. Властно насаждавшаяся нормандскими баронами архитектура была ветвью одной из французских школ. Однако сами пришельцы подобно англосаксам были в прошлом скорее плотниками, чем каменщиками, и строительная традиция англосаксов была им ближе и понятнее, нежели каменная архитектура латинского Юга. Дело было даже не столько в материале или отдельных формах, сколько в самых принципах тектонического мышления. Тот факт, что нормандской школе принадлежит честь усовершенствования нервюрного свода, скорее подтверждает это, чем опровергает: мастерство плотника приучает к большей изобретательности, нежели искусство каменщика. Обширное и единовременное строительство нормандцев не могло осуществляться одними приезжими мастерами,— в нем, бесспорно, участвовали местные строители, главным образом плотники. Через пятьдесят лет в романской архитектуре Англии начинают господствовать прямоугольные формы, как отзвук деревянного зодчества. Прямоугольные в плане апсиды и башни становятся правилом.

Особое место в средневековой архитектуре Англии занимают типичные для неё башни — важный элемент церковных сооружений времени Каролингов. Первоначально это были ступенчатые деревянные надстройки, отзвук деревянных каркасов сооружений Севера. Только такие каркасные надстройки были возможны в англо-саксонский период, поскольку остатки зданий этого времени указывают на тонкие стены. Впрочем, в это время имелись в Англии и каменные башни, например колокольня церкви Сент Мэри-ин-Кастро в Дувре [Существует мнение, относящее эту колокольню ко времени римской оккупации, когда она, якобы, служила маяком.]. Однако с композиционной точки зрения решающее значение имело местоположение башни или главной башни, если их было несколько.

Брэдфорд-на-Эйвоне. Церковь, 675 г. Дирхэрст. Церковь, X в.
4. Брэдфорд-на-Эйвоне. Церковь, 675 г. 5. Дирхэрст. Церковь, X в.

Один из наиболее ранних примеров осевого расположения башни мы находим в Дирхэрсте (X в.), где над более ранним притвором поставлена суживающаяся кверху башня, лишенная горизонтальных членений (рис. 5). В данном случае это была основная башня, ибо незначительная толщина стен допускала лишь деревянную надстройку над пересечением нефа и трансепта.

Важной особенностью английского храмостроения была именно центральная башня над средокрестием, как правило, прямоугольная в плане, снабженная ярусами сдвоенных проемов (бифориев). Первоначально эти башни-фонари имели деревянное перекрытие. Хотя башни-фонари и купола над средокрестием в романской архитектуре континента встречаются очень часто, но конструктивные истоки англонормандских башен над средокрестиями — иные. Одну и ту же задачу в Оверни и Аквитании решали каменщики, а в Нормандии и Англии — плотники [Октогон романского собора в Или, сооруженный в XIV в. вместо рухнувшей башни, перекрыт восемью сегментами дубового купола, ребра которого связаны восьмигранным деревянным кольцом — основанием башни-фонаря. Выполнение этой смелой конструкции в первой половине XIV в. говорит не только об опыте местных плотников, но и об их творческой изобретательности.].

Завоеватели перестраивали лишь главные здания, а потому сохранившиеся сооружения — это преимущественно приходские церкви, для которых трёхнефный план был далеко не обычным. Господствовали прямоугольные, однонефные объёмы с прямоугольными в плане апсидами. Значительная высота стен вызывалась необходимостью поднять незастекленные окна над головами присутствующих — этого требовал холодный и сырой климат. Техника постройки — крайне отсталая: кладка груба, углы выложены плохо. Из-за неумения строителей перекрывать большие пролеты арка, ведущая в хор, непомерно узка (церкви в Чикенее, Инворте, Уорхеме и Киркдейле, последняя датирована по надписи — 1060 г.).

В Гринстеде (Эссекс) частично сохранилась деревянная церковь начала XI в. Судя по ней и по другим примерам в Эссексе, деревянные церкви напоминали башни. Это были простые сравнительно высокие сооружения каркасной конструкции: на четырех огромных, связанных балками дубовых столбах высился второй каркас из меньших столбов и балок, перекрытый пирамидальной кровлей. Наружные стены имели вид поставленных стоймя дубовых полустволов, окружавших башню на расстоянии 1 м наподобие забора. Высота стен не превышала 3,5 м. К этому «нефу» примыкал небольшой объем прямоугольного в плане хора, а иногда с противоположной, западной стороны такой же притвор. Между столбами, для укрепления каркаса, сооружались мощные деревянные арки, причем оба элемента, составлявшие арку, сходились под углом у оснований верхних балок, связывавших столбы.

Первый опыт местного каменного строительства, вероятно, был связан с заменой деревянных экранных ограждений «столбовых» церквей каменным заполнением каркаса. Когда такие каменные ограждения стали достаточно прочными, чтобы нести верхние балки, строители научились обходиться без нижнего каркаса, и церковь превратилась в каменную башню с высоким деревянным завершением, иногда даже двухъярусным (церковь в Брэморе).

Бартон-на-Хамбере. Церковь, конец X в. Эрлс-Бартон. Церковь, конец X или начало XI в.
6. Бартон-на-Хамбере. Церковь, конец X в. 7. Эрлс-Бартон. Церковь, конец X или начало XI в.

В каменной церкви в Бартоне-на-Хэмбере (конец X в.) центральное помещение, играющее роль нефа, представляет собой подбашенное пространство под прямоугольной в плане башней (рис. 6). К востоку от каменного объема башни находится небольшая, также прямоугольная в плане пристройка (хор), а к западу — притвор. Предполагается, что такое же расположение было первоначально в церквах в Эрлс-Бартоне (рис. 7) и Броутоне. Достаточно беглого взгляда на все эти центрально поставленные и сравнительно высокие башни, чтобы убедиться в происхождении подобной конструкции. Треугольные арки и сеть каменных полос, покрывающих плоскости стен, представляют собой откровенное подражание деревянным конструкциям, и это в районе, богатом камнем!

Функциональное назначение этих башен неясно. Некоторые данные указывают на то, что они носили жилой характер, хотя, вероятно, приобрели его уже позже возникновения самого типа, который первоначально просто отмечал издали место святилища.

Особенностью англосаксонских сооружений была небрежность планировки: южные стены нефа в Бриксуорте и башни в Эрлс-Бартоне почти на 40 см короче северных, а в Чикнейской церкви прямой угол вообще нигде не соблюдён. Тесаный камень применялся крайне редко (Брэдфорд-на-Эйвоне и еще несколько исключений). Стены выкладывались из мелкого камня на растворе великолепного качества. Хотя внешний вид кладки весьма непригляден, прочность цемента обеспечила стойкость сооружения на протяжении двенадцати столетий. Этот же раствор применялся и для пола, сохранившегося в некоторых зданиях (Питерборо, Барнак и др.).

Углы выкладывались попеременно стоймя и плашмя из очень крупных камней (120 × 70 × 45 см; церковь в Эрлс-Бартоне). Характерной деталью башенных проёмов позднесаксонского периода был такой пережиток деревянного зодчества, как до того нигде больше не встречавшаяся балюстра, разделявшая проёмы бифориев. Изредка она снабжалась капителью и базой.

В IX—X вв. в англосаксонском зодчестве применялись сферические, цилиндрические и конические капители. Позднее, однако, господство переходит к капители кубической формы.

Добавить комментарий

CAPTCHA
Этот вопрос задается для предотвращения попыток автоматической регистрации